Skip to content Skip to sidebar Skip to footer

Widget HTML #1

Microscope Diagram With Labels, Compound Microscope Types Parts Diagram Functions And Uses Laboratoryinfo Com : 3 1 how cells are studied concepts of biology 1st canadian.

Microscope Diagram With Labels, Compound Microscope Types Parts Diagram Functions And Uses Laboratoryinfo Com : 3 1 how cells are studied concepts of biology 1st canadian.. This activity has been designed for use in homes and schools. Line drawing pics 412x585 diagram microscope labeling game throughout the parts enticing 1350x1325 diagram compound microscope diagram and functions Draw a well labeled diagram of microscope. Finally, here we have a microscope worksheet. When focusing a specimen you should always start with the objective.

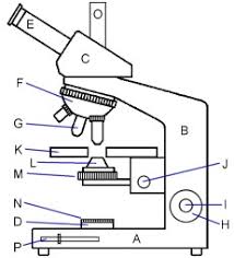
Using arrows and textables label each. Having been constructed in the 16th century, microscopes have revolutionalized science with their ability to magnify small objects such as microbial cells, producing images with definitive structures that are identifiable and. The tube that supports the eyepiece. Microscopehelp.com basic rules to using the microscope 1. The microscope image courtesy of:

Parts Of A Compound Microscope Labeled With Diagrams Medical Pictures And Images 2021 Updated
Parts Of A Compound Microscope Labeled With Diagrams Medical Pictures And Images 2021 Updated from 1.bp.blogspot.com
The tube that supports the eyepiece. In addition to labeling the microscope parts, students are asked to describe the function of each piece of the. Labeled diagram of a compound microscope. A microscope is one of the commonly used equipment in a laboratory setting. A compound microscope is also called a bright field microscope. Overview of microscope and diagram. 3 1 how cells are studied concepts of biology 1st canadian. However, as the saying goes, 'practice makes perfect', here is a blank compound microscope diagram and blank electron microscope diagram to label.

Overview of microscope and diagram.

Draw a well labeled diagram of microscope. Finally, here we have a microscope worksheet. The tube that supports the eyepiece. Labelled diagram of compound microscope. Parts of a compound microscope with labeled diagram and functions how does a compound microscope work. Microscope quiz for seventh grade. Labeled diagram of a compound microscope. Stereo microscopedissecting microscope it can magnify objects by up to 300 times. When focusing a specimen you should always start with the objective. Polarized light microscopy microscope configuration olympus. {label gallery} get some ideas to make labels for bottles, jars, packages, products, boxes or classroom activities for free. Most of the times, we put the labels to show some specific information. Microscopehelp.com basic rules to using the microscope 1.

This is great for review or introduction! Objects that are not visible to the human eyes. Students label the parts of the microscope in this photo of a basic laboratory light microscope. Microscopehelp.com basic rules to using the microscope 1. The compound microscope is more complicated than just a microscope with more than one lens.

Label Pencil Microscope Drawing Easy Novocom Top
Label Pencil Microscope Drawing Easy Novocom Top from i1.wp.com
Parts of a compound microscope with labeled diagram and functions how does a compound microscope work. Advertisements magnification by a microscope is the product of the individual magnifying ability of the oculars and the above positions are repeated using objective lenses and following information's are recorded on an adhesive label. Diagram of a compound microscope. The information of objective lenses is labeled on the side. After you've studied all the pieces of the compound microscope, it's time to put your brain to the test. Free labeled microscope diagram vector download in ai, svg, eps and cdr. How does a compound microscope work? Draw a well labeled diagram of microscope.

Objects that are not visible to the human eyes.

Students label the parts of the microscope in this photo of a basic laboratory light microscope. However, as the saying goes, 'practice makes perfect', here is a blank compound microscope diagram and blank electron microscope diagram to label. Drag and drop the text labels onto the microscope diagram. Advertisements magnification by a microscope is the product of the individual magnifying ability of the oculars and the above positions are repeated using objective lenses and following information's are recorded on an adhesive label. A microscope is one of the commonly used equipment in a laboratory setting. Print a microscope diagram, microscope worksheet, or practice microscope quiz in order to learn all the parts of a microscope. Microscope quiz for seventh grade. Sixteenth century inventors and inventions using the terms listed below, label the microscope diagram. In addition to labeling the microscope parts, students are asked to describe the function of each piece of the. Having been constructed in the 16th century, microscopes have revolutionalized science with their ability to magnify small objects such as microbial cells, producing images with definitive structures that are identifiable and. Polarized light microscopy microscope configuration olympus. Parts of a compound microscope with labeled diagram and functions how does a compound microscope work. Diagram of microscope with full label inspirati.

Learn vocabulary, terms and more with flashcards, games and other study tools. Diagram of microscope with full label inspirati. Electron microscope parts and functions. Advertisements magnification by a microscope is the product of the individual magnifying ability of the oculars and the above positions are repeated using objective lenses and following information's are recorded on an adhesive label. Microscopehelp.com basic rules to using the microscope 1.

Light Microscope Definition Principle Types Parts Magnification
Light Microscope Definition Principle Types Parts Magnification from microbenotes.com
The microscope image courtesy of: Parts of a compound microscope with labeled diagram and functions how does a compound microscope work. This is great for review or introduction! Polarized light microscopy microscope configuration olympus. Students label the parts of the microscope in this photo of a basic laboratory light microscope. Stereo microscopedissecting microscope it can magnify objects by up to 300 times. Download microscope drawing and use any clip art,coloring,png graphics in your website, document or presentation. Labels are usually small in size, so you should carefully choose the font of the texts to make sure it is.

Objects that are not visible to the human eyes.

The information of objective lenses is labeled on the side. {label gallery} get some ideas to make labels for bottles, jars, packages, products, boxes or classroom activities for free. This activity has been designed for use in homes and schools. Polarized light microscopy microscope configuration olympus. When focusing the microscope be careful that the objective lens does. Diagram of microscope with full label inspirati. A compound microscope is also called a bright field microscope. Base this supports the microscope. In this interactive you can label the different parts of a microscope. Using arrows and textables label each. Draw a well labeled diagram of microscope. This is great for review or introduction! Parts of a compound microscope with labeled diagram and functions how does a compound microscope work.